很多小伙伴在上海想要查看自己小区的疫情情况,包括三区的划分,解封日期,小区内阳性情况,都可以通过上海疫情计算器解封来查询,那么具体的网址入口是什么呢,如何查询呢,别着急,下面我们一起看看详细介绍吧。

上海疫情参考计算器直达链接点击跳转(仅供参考,不作为正式解封日期)
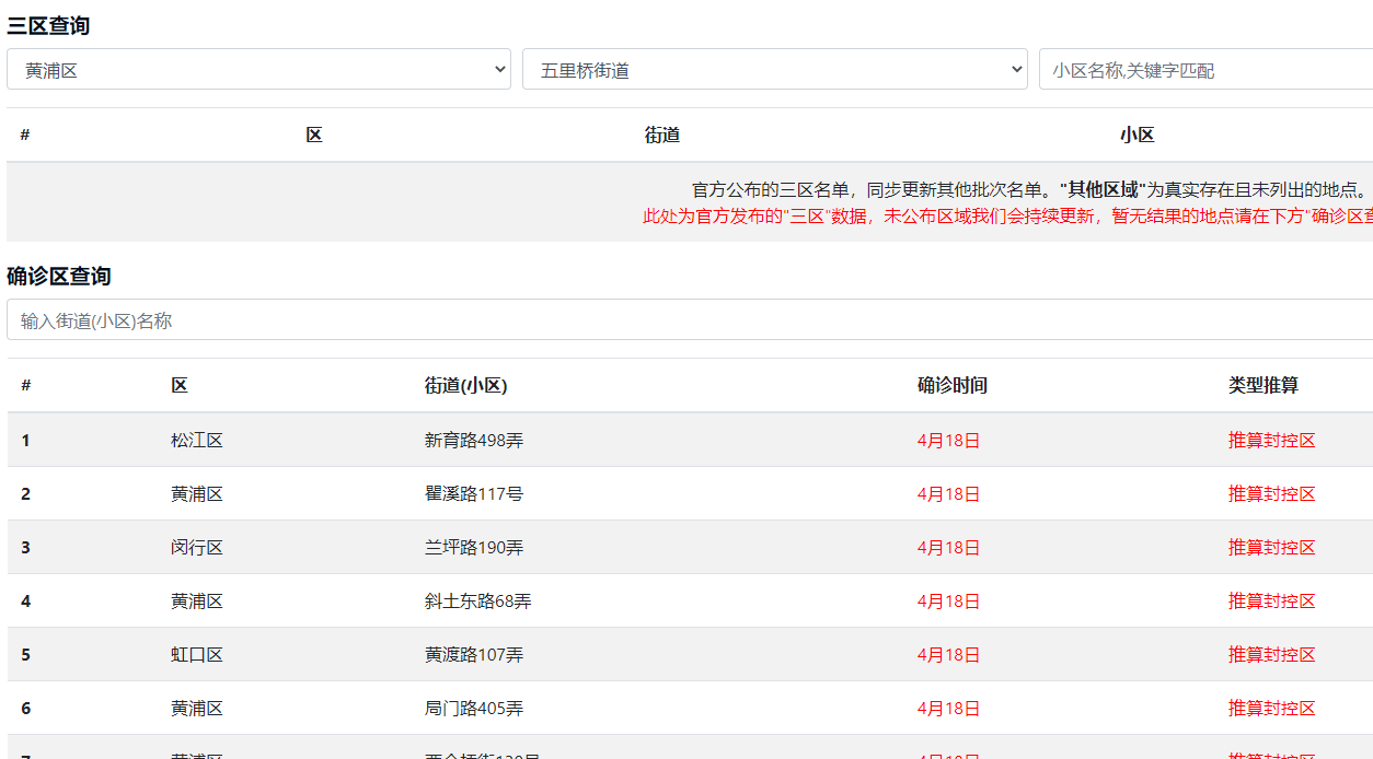
根据上海市政府官方统计数据发布的情况,以便随时了解上海社区疫情的实时状况,采取自我防范措施。
上海疫情计算器,了解感染人数趋势,所在社区防控水平以及预计解封时间。
上海疫情计算器(预计解封时间)功能亮点
1.信息感知,数据采集
2.健康申报,数据分析健康状况自我上报和上报他人
3.可以检测持有系统软件应用的人群,您可以了解精确个人健康状态,以做好更好的隔离状态;
4、使用者可以查询14天内历史接触记录,和所有接触对象的健康状况,自我评估感染风险。
5、软件上填写个人基础疾病、添加接种日记可以查看疫苗接种注意事项。
6、查看个人行动轨迹和历史接触记录,查询是否接触高危对象,自我评估健康状况。
上海疫情计算器(预计解封时间)教程攻略
1.查看平台推送的自动记录的众多信息,查看确诊、疑似等数据;
2.点击接触记录,查看地图显示的轨迹,点击轨迹查看设备列表;
3.收录了全国各个地区的风险等级,还有超多的详细信息可以进行查看;
4.超级好用的一款上海疫情地区统计数据平台,能够查询上海市各小区、街道的封闭时间和具体的解封时间,直接输入想要了解的小区街道名称,或选择高风险预警地区查看,即可详细的了解并知晓。
小伙伴们快快点击链接,进行疫情信息的查询吧,想要获取更多精彩资讯内容,就来菜鸟吧。
周边疫情查询疫情实时查询yn下载发布此文仅为传递信息,不代表yn下载认同其观点或证实其描述。
相关游戏
71.33MB破解合集
437.12MB策略游戏
52.49MB动作游戏
休闲益智
6.04MB角色扮演
热门攻略