最新资讯
落落熊土但是嫩什么梗抖音落落熊在抖音是拥有粉丝的网红以前是个鬼火少女现在一改风格成为可爱清纯的国风少女那么落落熊土但是嫩什么梗呢跟随小编一起来看看吧落落熊相关内容落落......
抖音落落熊嫩是真的嫩是什么梗快来吃抖音网红的新瓜抖音落落熊在抖音是拥有粉丝的网红以前是个鬼火少女现在一改风格成为可爱清纯的国风少女所以最近关于抖音落落熊嫩是真的嫩的梗......
抖音短视频平台上因为各种有趣视频的传播给大家日常玩梗提供了素材很多网友想知道女生说自己是什么意思呢今天小编就给大家分享一下女生说自己含义出处分享感兴趣的小伙伴一起看看......
近期河北省的疫情防控形势严峻很多地方都有新增病例出现据最新消息河北邢台也有新冠肺炎阳性人员活动史存在疫情传播风险为坚决阻断新冠疫情传播途径现在邢台区实施静态管理一区封......
近期上海疫情通过大规模核酸筛查的开展虽然新增阳性人数不断增多但也能够尽快找出潜在感染者而经过这段时间的奋斗现在上海疫情近几天的新增人数终于呈下降趋势了最新消息上海两区......
最近这段时间因为疫情原因还有物传人风险的提升很多网友都发现自己的快递不是没发货就是物流配送效率极慢近日南昌疫情的发生很多小伙伴的快递也市受到了影响的那么南昌快递什么时......
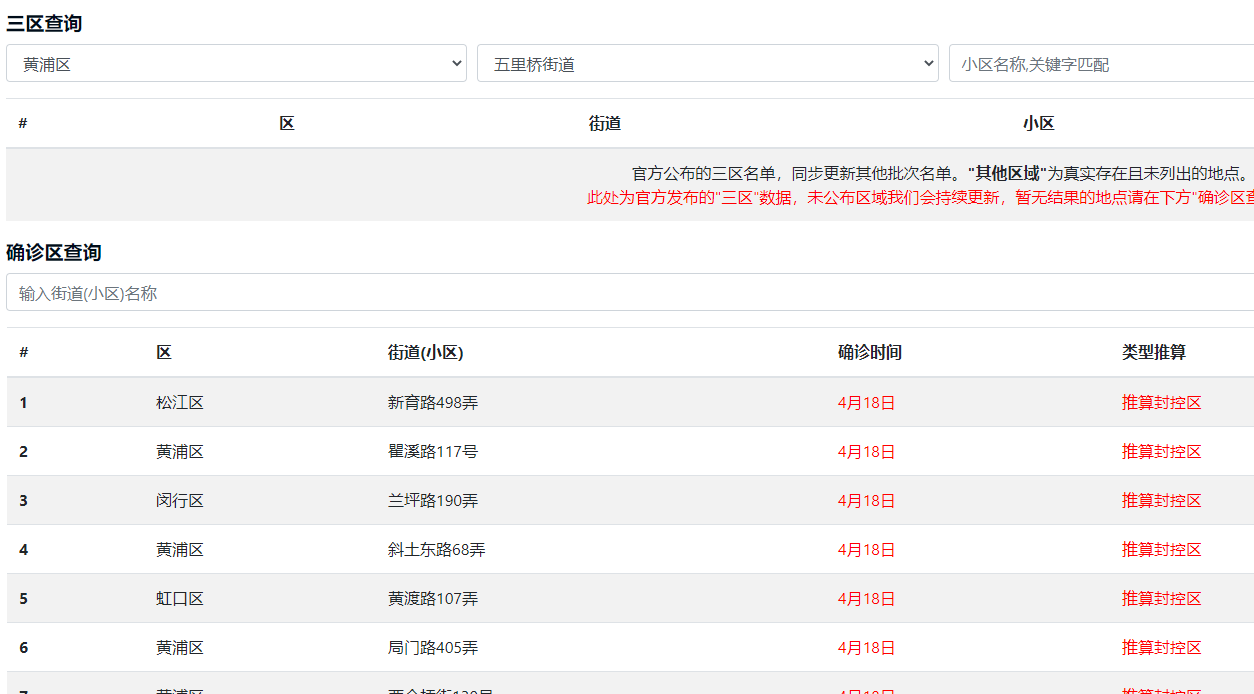
很多小伙伴在上海想要查看自己小区的疫情情况包括三区的划分解封日期小区内阳性情况都可以通过上海疫情计算器解封来查询那么具体的网址入口是什么呢如何查询呢别着急下面我们一起......
抖音底部导航栏的朋友变成了商城但是抖音商城很多小伙伴平时都不用那么抖音底部导航栏商城怎么移除呢下面小编就为大家带来了抖音底部导航栏商城的关闭方法介绍希望对你有所帮助抖......
牛听了也得愣两秒是什么梗水星记被大家公认为深夜的神曲由此近期在网络上衍生了全新的歌曲水牛记也被大家称之为牛听了也得愣两秒的歌曲牛听了也得愣两秒是什么梗这个梗出自短视频......
很多抖音用户发现自己的抖音中朋友功能不见了变成了商城那么抖音底部朋友栏怎么恢复呢下面小编就为大家带来了抖音底部朋友栏的恢复方法介绍希望对你有所帮助抖音底部朋友栏恢复方......
抖音的朋友功能是很多小伙伴经常都会用到的但是近期打开抖音后有的用户发现原来的朋友入口找不到了抖音底部朋友栏不见了抖音朋友怎么变成商城了下面小编就为大家带来了详细的解答......
在抖音新版本中底部导航栏多个一个商城入口那么如果我们想要将其关掉该怎么弄呢下面小编就为大家带来了抖音底部商城入口的关闭方法介绍有需要的小伙伴们可以来一起了解下哦抖音底......
近期有的小伙伴打开抖音后发现原来在底部导航栏的朋友变成了商城但是自己又不用商城那么抖音商城怎么换成朋友呢下面小编就为大家带来了抖音底部商城改成朋友的方法介绍希望对你有......
最近很多小伙伴发现自己在使用抖音的时候系统会显示自己的地址所在位置情况都会展示出来那么抖音地址怎么改抖音地址能关掉吗下面小编就为大家带来了详细的解答希望对你有所帮助抖......
抖音中近日加入了显示地址的功能系统将根据你的自动显示所在位置那么抖音地址怎么看抖音地址在哪里呢下面小编就为大家带来了抖音地址的查看方法介绍还不知道的小伙伴可以来一起了......
热门资讯
精彩推荐
每日一撸